详解全自动探针台及其工作台的制作方法返回列表

本实用新型涉及电子元器件检测技术领域,特别涉及一种全自动探针台及其工作台。
背景技术:
全自动探针台主要应用于半导体行业、光电行业、集成电路以及电子元器件的质量测试。随着科技的发展,电子元器件的体积越来越小,通常将多个电子元器件集成于一片状的底板上以形成待测件,方便后续进行检测。
对待测件进行检测之前,通常需要将待测件放置于一工作台上。但是,在向工作台上放待测件的过程中,为了提升检测效率,通常采取机械手输送待测件,通常工作台上用于承载待测件的表面和机械手上的待测件之间预留有一定的高度差以确保机械手能顺利输送待测件,在重力作用下待测件直接掉落到工作台上可能会使待测件上的电子元器件被撞伤,故有待改进。
技术实现要素:
本实用新型实施例的目的是提供一种全自动探针台及其工作台,解决了在重力作用下待测件直接掉落到工作台上可能会使待测件上的电子元器件被撞伤的问题。
本实用新型第一方面提供一种全自动探针台的工作台,包括:台座;与所述台座竖向间隔布置的、用于承载待测件的载片台;设置于所述台座上的驱动机构;以及,受所述驱动机构驱使以部分伸出所述载片台用于承接所述待测件的、由若干顶针组成的顶针组件,所述载片台设有供所述顶针伸出的穿孔,当承接有所述待测件的所述顶针接触所述待测件的一端收缩至所述穿孔内时所述待测件放置于所述载片台上。
实现上述方案的工作台,在将待测件放置于载片台上的过程中,驱动机构先驱使部分顶针伸出穿孔以抵接于待测件的下方,在顶针朝穿孔内收缩的过程中逐步将待测件引导至载片台上,继而待测件难以在重力作用下直接掉落到载片台上,对待测件上的电子元器件具有较佳的保护作用。
结合第一方面,在第一方面的第一种可能的实现方式中,所述驱动机构包括:固定装配于所述台座上的气缸;供所述顶针固定安装的安装件;以及,设于所述气缸的伸缩杆和所述安装件之间的、以使所述安装件相对于所述气缸水平方向错位布置的连接件。
实现上述方案的工作台,气缸的伸缩杆动作带动连接件升降,进而带动安装件升降以使顶针伸出及回缩与穿孔,同时连接件使得安装件相对于气缸水平方向错位布置,从而在安装件的正下方留出了更大的空间以用于安装其他零部件,具有结构稳定及节省空间的效果。
结合第一方面的第一种可能的实现方式,在第一方面的第二种可能的实现方式中,所述连接件包括:一端设置于所述气缸的伸缩杆上的、相对于所述台座水平布置的板件;以及,设置于所述安装件和所述板件另一端之间的、相对于所述台座竖向布置的杆件。
实现上述方案的工作台,杆件和板件组合安装,实现了气缸的活塞杆和安装件之间的可靠、稳定连接。
结合第一方面的第二种可能的实现方式,在第一方面的第三种可能的实现方式中,所述工作台还包括:设于所述板件上的、相对于所述台座水平布置的条形挡片,设于所述台座上的安装架,以及,设于所述安装架上的、与所述条形挡片配合且竖向间隔布置的、当所述板件升降至极限位置时以向一控制中心反馈信息的第一传感器和第二传感器。
实现上述方案的工作台,在气缸驱动顶针升降的过程中,顶针位于最高点时意味着顶针已经接触待测件,顶针位于最低点时意味着待测件已经放置于载片台上,板件也会相应升降,当板件带动条形挡片升降至极限位置时,第一传感器或第二传感器向一控制中心反馈上述信息,进而有利于控制中心控制其他部件动作以配合对待测件进行检测。
结合第一方面,在第一方面的第四种可能的实现方式中,所述工作台还包括:带轮结构以及伺服电机,所述伺服电机设于所述台座上且通过所述带轮结构驱使所述载片台沿竖向轴线方向自由旋转。
实现上述方案的工作台,伺服电机通过带轮结构驱使载片台沿竖向轴线方向自由旋转,从而可以带动载片台上的待测件自由旋转,方便对待测件进行检测。
结合第一方面的第四种可能的实现方式,在第一方面的第五种可能的实现方式中,所述工作台还包括:设于所述载片台上的、相对于所述载片台竖向布置的弧形挡片,以及,设于所述台座上的、与所述弧形挡片配合且竖向布置的、当所述载片台旋转至极限位置时以控制所述伺服电机关闭的第三传感器。
实现上述方案的工作台,在伺服电机驱动载片台旋转的过程中,载片台旋转至极限位置时,弧形挡片刚好处于旋进或者旋出第三传感器的状态,从而第三传感器可以通过判断其是否被弧形挡片隔挡来实现监测载片台是否旋至极限位置,有效防止载片台旋转过度,有利于待测件被检测。
结合第一方面,在第一方面的第六种可能的实现方式中,所述载片台的用于承接所述待测件的表面设有若干负压孔,所述载片台的内部设有若干与所述负压孔及一负压系统连通的通道以当所述负压系统开启时将所述待测件吸附于所述载片台的所述表面上。
实现上述方案的工作台,负压系统开启会通过通道及负压孔实现将待测件吸附固定于载片台上,进而待测件更加稳定,进一步有利于待测件被检测。
结合第一方面的第一种可能的实现方式,在第一方面的第七种可能的实现方式中,所述载片台呈圆柱形状,所述顶针的数量为三根且与所述载片台同轴线均匀布置。
实现上述方案的工作台,三根顶针对待测件具有良好的承托作用,进而待测件在下降过程中更加稳定,同时三根均匀布置,有效确保重心不偏移,进一步确保待测件的稳定性。
结合第一方面的第七种可能的实现方式,在第一方面的第八种可能的实现方式中,所述顶针包括:与所述安装件固定装配的安装部分,以及,与所述安装部分可拆卸式装配以接触所述待测件的软质橡胶部分。
实现上述方案的工作台,软质橡胶部分具有质软的优点,从而软质橡胶部分接触待测件时,难以破坏待测件上的电子元器件。
本实用新型第二方面提供一种全自动探针台,包括:如上述的工作台,与所述工作台的所述台座横向滑动式装配的第一底座,驱使所述工作台相对于所述第一底座横向滑动的第一动力件,与所述第一底座纵向滑动式装配的第二底座,以及,驱使所述工作台、所述第一动力件及所述第一底座相对于所述第二底座纵向滑动的第二动力件。
实现上述方案的全自动探针台,第一动力件动作以驱使工作台相对于第一底座横向滑动,第二动力件动作以驱使工作台及第一底座相对于第二底座横向滑动,从而可以带动载片台上的待测件相对于第二底座横向和/或纵向移动,方便对待测件进行检测。
综上所述,本实用新型实施例具有以下有益效果:
其一,通过顶针的承托作用,待测件难以直接掉落至载片台上,对待测件具有较佳的保护作用;
其二,结构紧凑、稳定,占用空间小,安装、维护方便。
附图说明
图1是本实用新型实施例一的结构示意图;
图2是本实用新型实施例一中驱动机构、钉针、条形挡片、安装架、第一传感器及第二传感器的结构示意图;
图3是本实用新型实施例二的结构示意图。
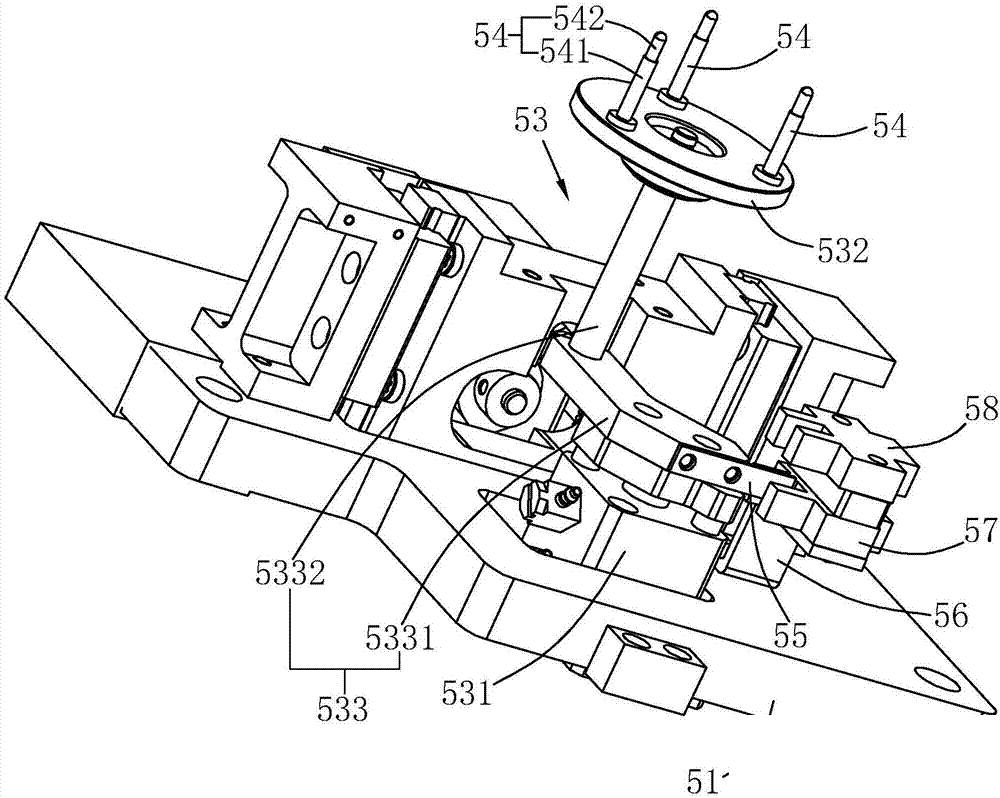
附图标记:1、第一底座;2、第二底座;3、第一动力件;31、第一丝杆;32、第一电机;4、第二动力件;41、第二丝杆;42、第二滑套;5、工作台;51、台座;52、载片台;521、穿孔;522、负压孔;53、驱动机构;531、气缸;532、安装件;533、连接件;5331、板件;5332、杆件;54、顶针;541、安装部分;542、软质橡胶部分;55、条形挡片;56、安装架;57、第一传感器;58、第二传感器;59、带轮结构;510、伺服电机;511、弧形挡片;512、第三传感器;6、第二导轨;7、第二滑块。
具体实施方式
下面将结合本实用新型实施例中的附图,对本实用新型实施例中的技术方案进行清楚、完整地描述,显然,所描述的实施例仅仅是本实用新型一部分实施例,而不是全部的实施例。基于本实用新型中的实施例,本领域普通技术人员在没有做出创造性劳动前提下所获得的所有其他实施例,都属于本实用新型保护的范围。
实施例一:一种全自动探针台的工作台,如图1所示,包括:台座51、载片台52、带轮结构59、伺服电机510、弧形挡片511及第三传感器512。
载片台52用于放置待测件且呈圆柱形状,伺服电机510固定安装于台座51上,且通过带轮结构59驱使载片台52沿竖向轴线方向自由旋转,从而可以带动载片台52上的待测件自由旋转,方便对待测件进行检测,在其他实施例中带轮结构59还可以替换成齿轮传动或者链轮传动结构。
弧形挡片511固定装配于载片台52上且对于载片台52竖向布置的,第三传感器512固定安装于台座51上且与弧形挡片511配合且竖向布置,当载片台52旋转至极限位置时以控制伺服电机510关闭。在伺服电机510驱动载片台52旋转的过程中,载片台52旋转至极限位置时,弧形挡片511刚好处于旋进或者旋出第三传感器512的状态,从而第三传感器512可以通过判断其是否被弧形挡片511隔挡来实现监测载片台52是否旋至极限位置,有效防止载片台52旋转过度,有利于待测件被检测。
载片台52的用于承接待测件的表面开有多个负压孔522,负压孔522呈圆弧形状,载片台52的内部开有多个与负压孔522及一负压系统连通的通道,以当负压系统开启时将待测件吸附于载片台52的表面上,进而待测件更加稳定,进一步有利于待测件被检测。
载片台52上开有三个竖向布置的穿孔521,三个穿孔521位于一圆上且均匀布置,上述圆和载片台52呈圆心布置。
结合图1和图2所示,工作台还包括:固定装配于台座51上的驱动机构53,以及,受驱动机构53驱使以部分伸出穿孔521用于承接待测件的、由三根顶针54组成的顶针组件当承接有待测件的顶针54接触待测件的一端收缩至穿孔521内时待测件放置于载片台52上。
驱动机构53包括:固定装配于台座51上的气缸531;供顶针54固定安装的安装件532;以及,设于气缸531的伸缩杆和安装件532之间的、以使安装件532相对于气缸531水平方向错位布置的连接件533。在其他实施例中驱动机构53可以为直接布置于载片台52下方的气缸531。气缸531的伸缩杆动作带动连接件533升降,进而带动安装件532升降以使顶针54伸出及回缩与穿孔521,同时连接件533使得安装件532相对于气缸531水平方向错位布置,从而在安装件532的正下方留出了更大的空间以用于安装其他零部件,具有结构稳定及节省空间的效果。
连接件533包括:一端设置于气缸531的伸缩杆上的、相对于台座51水平布置的板件5331;以及,设置于安装件532和板件5331另一端之间的、相对于台座51竖向布置的杆件5332。杆件5332和板件5331组合安装,实现了气缸531的活塞杆和安装件532之间的可靠、稳定连接。
工作台还包括:设于板件5331上的、相对于台座51水平布置的条形挡片55,设于台座51上的安装架56,以及,设于安装架56上的、与条形挡片55配合且竖向间隔布置的、当板件5331升降至极限位置时以向一控制中心反馈信息的第一传感器57和第二传感器58。在气缸531驱动顶针54升降的过程中,顶针54位于最高点时意味着顶针54已经接触待测件,顶针54位于最低点时意味着待测件已经放置于载片台52上,板件5331也会相应升降,当板件5331带动条形挡片55升降至极限位置时,第一传感器57或第二传感器58向一控制中心反馈上述信息,进而有利于控制中心控制其他部件动作以配合对待测件进行检测。
顶针54的数量为三根且与载片台52同轴线均匀布置,三根顶针54对待测件具有良好的承托作用,进而待测件在下降过程中更加稳定,同时三根均匀布置,有效确保重心不偏移,进一步确保待测件的稳定性。
顶针54包括:与安装件532固定装配的安装部分541,以及,与安装部分541可拆卸式装配以接触待测件的软质橡胶部分542,软质橡胶部分542具有质软的优点,从而软质橡胶部分542接触待测件时,难以破坏待测件上的电子元器件。
工作过程及原理:在将待测件放置于载片台52上的过程中,驱动机构53先驱使部分顶针54伸出穿孔521以抵接于待测件的下方,在顶针54朝穿孔521内收缩的过程中逐步将待测件引导至载片台52上,继而待测件难以在重力作用下直接掉落到载片台52上,对待测件上的电子元器件具有较佳的保护作用。
实施例二:一种全自动探针台,结合图1和图3所示,包括:如实施例一中描述的工作台5,与工作台5的台座51横向滑动式装配的第一底座1,驱使工作台5相对于第一底座1横向滑动的第一动力件3,与第一底座1纵向滑动式装配的第二底座2,以及,驱使工作台5、第一动力件3及第一底座1相对于第二底座2纵向滑动的第二动力件4。
第一底座1上安装有两条横向平行布置的第一导轨,台座51的底部固定安装有与第一导轨滑动式装配的第一滑块,第一动力件3包括:设于第一底座1上且位于两第一导轨之间的、沿横向轴线自由旋转的第一丝杆31,与第一丝杆31螺纹式装配的、与台座51固定装配的第一滑套,以及,驱动第一丝杆31转动的第一电机32,图3中第一导轨、第一滑块及第一滑套均由于视角遮挡未具体示出。
第二底座2上安装有两条纵向平行布置的第二导轨6,第一底座1的底部固定安装有与第二导轨6滑动式装配的第二滑块7,第二动力件4包括:设于第二底座2上且位于两第二导轨6之间的、沿纵向轴线自由旋转的第二丝杆41,与第二丝杆41螺纹式装配的、与第一底座1固定装配的第二滑套42,以及,驱动第二丝杆41转动的第二电机,图3中第二电机由于视角遮挡未具体示出。
第一动力件3动作以驱使工作台5相对于第一底座1横向滑动,第二动力件4动作以驱使工作台5及第一底座1相对于第二底座2横向滑动,从而可以带动载片台52上的待测件相对于第二底座2横向和/或纵向移动,方便对待测件进行检测。
以上所述的实施方式,并不构成对该技术方案保护范围的限定。任何在上述实施方式的精神和原则之内所作的修改、等同替换和改进等,均应包含在该技术方案的保护范围之内。
查看更多探针台系统
上一篇:国内探针台的分类简述
MySQL Error : Table 'shjyingbo.webyb_' doesn't exist
MySQL Errno : 1146
Message : Table 'shjyingbo.webyb_' doesn't exist
Need Help?

